Aerospace Engine Review Vol.7 OKB-2 Scud Engines 推進器研究会 スカッドミサイルのロケットエンジン本
- Waiting on ArrivalMailbin OKPhysical (via warehouse)4,200 JPY



















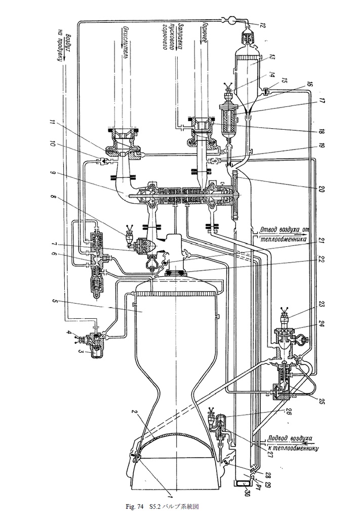
【完売しました】 Aerospace Engine Review Vol.7 OKB-2 Scud Engines 推進器研究会 スカッドミサイルのロケットエンジン本 推進器研究会 旧ソ連のロケットエンジン解説本。スカッドミサイルのS5.2ロケットエンジンを旧ソ連内部資料等を基に技術解説。合計約18万文字、198p。250を超える図面・写真を基に開発の歴史から実際のエンジンシステムに至るまでを紹介。 ロケットエンジンシステムについて、これ程具体的に書かれた日本語書籍は今まで無かった様に思います。制御、バルブ、系統等も扱い、製造手法にも及んだフルパッケージ本となりました。第一宇宙速度を目指す、ロケットエンジンのシステム統合教科書。ロケットエンジン13t級への開発の扉を開き、日本のロケッティアに、ここ10年で最も衝撃を与える1冊。 This is the Russian/Soviet Union rocket engine review and commentary book. Technical commentary on S5.2 rocket engine of Scud missile based on Soviet internal manuals etc. A total of about 180,000 characters, 198 p. Based on over 250 drawings and photographs, we introduce from development history to actual rocket engine system. We also handled control, valves, systems, etc., and it became a full package book covering manufacturing methods. System integrated textbook of rocket engine aiming at first space velocity. We will open the door of 13t class rocket engine. ◆推薦図書 多田将先生著作の「弾道弾 (兵器の科学)(2020.11)」の推薦図書の中で、本書を「一般人が入手できる書籍で、これほど詳しい技術書はほかに見たことがありません。(抜粋)」と推薦頂きました。


















